CCL-4000 - Pneumatic Turbine Vibrator



RECOMMENDED ACCESSORIES

SC-2C2 - Safety Cable
6X10.5CH-IN - Channel Iron (Inches)
LC-2 - Vibrator Mounting Bracket For Small L&C

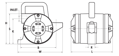
Dimensions

B 6 in
153 mm
L 8-1/16 in
205 mm
W 7 in
178 mm
H 7-1/4 in
185 mm
K 4-1/8 in
105 mm
R 3/4 in
20 mm
S 5-1/16 in
129 mm
INLET 3/4 NPT

Tech Data

60 psi
VPM 4000
CFM 30
80 psi
VPM 6000
CFM 40
Force lbs 4000
Force Newtons 17996
dB 78
Max Lbs Material in Bin 40000
Weight 22 lbs

VIBCO CCL Lug-Style Pneumatic Turbine Vibrators are an ideal choice for precast concrete forms.


  • VIBCO CCL Heavy Duty Pneumatic Turbine Vibrators use a durable lug bracket (sold separately) for easy portability
  • VIBCO CCL Vibrators are used extensively in precast and cast in place concrete jobs including concrete panels, tables, concrete pipe, prestressed concrete, and window panel frames.
  • All CCF models employ VIBCO’s patented silent turbine vibrator technology, feature oversized bearings that are prelubricated for life, and offer years of trouble-free service

Not what you're looking for?


Search VIBCO's complete product line or request FREE technical support now.  

 

Made In The USA 50 Years


US Flag 

VIBCO Vibrators™ are 100% MADE IN THE USA since 1962.

Top Quality, Fastest Delivery

  • 100% Manufactured in the USA
  • Strict quality standards
  • Available and in-stock
  • Same day or next day shipping
  • Made with pride since 1962

Not Sure? How can we help you?

Call UsOn the Job PhotosVIBCO TV 

Customer Testimonials

CALL NOW: 800-633-0032